产品分类
产品搜索
热点新闻
潜水曝气机采用的潜水曝气技术特点
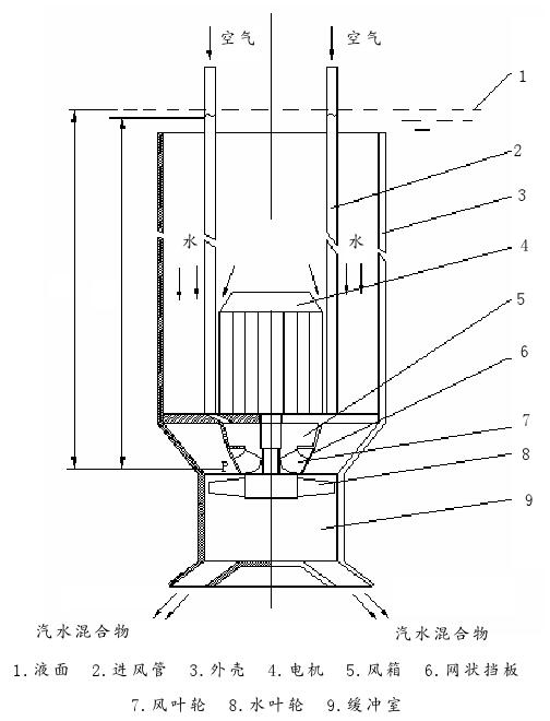
曝气方式有多种,其中潜水曝气采用的是潜水曝气机(见图1所示),省去了传统的鼓风机曝气方式所需的鼓风机、消音器、减震基础、阀门、仪表、输风干管、支管和各种形式的曝气头(或开孔管)及风机房等。而且,鼓风机曝气系统繁琐,存在噪音污染﹐管道及仪表的安装与维护管理工作量也较大,设在水下的曝气管道及曝气头维修十分不便。
潜水曝气机采用的技术具有以下优点:
1、构造简单,不易发生堵塞,而且设于水下,避免了噪音对周围环境的影响;
2、由于没有较长的风管,因此氧的转移系数大,利用率高,污泥活性好,基质降解常数比其他活性污泥高;
3、潜水曝气机混合室内由于紊动及能量交换作用,形成了剧烈的混掺现象,不仅在瞬时完成了氧由气体向水中的转移,而且使混合液中活性污泥和悬浮填料处于强烈搅动的悬浮状态,生物膜直接受到水、气流的搅动,加速了生物膜的更新,使其经常保持较高的活性;
4、潜水曝气机发生故障时,可通过设置的导轨提升到池顶上,安装及维护管理十分方便;
5、根据水质的变化﹐潜水曝气机可通过控制阀调节进气量,实现曝气与搅拌功能的分开与组合﹐使水质均匀,不易产生污泥膨胀;
6、不需要在池内设置曝气管道及曝气头。
- 上一篇: 没有文章
- 下一篇:潜水曝气机在污水处理上具有广阔的应.
地址:温州市永嘉县瓯北镇东瓯工业区张堡西路 电话:0577-67952186,0577-67952187 传真:0577-67952187 站点地图 技术支持:温州中网
Copyright © 2014 永嘉县博得流体设备有限公司 All Rights Reserved.备案号:浙ICP备11022243号-1
浙公网安备 33032402001713号
Copyright © 2014 永嘉县博得流体设备有限公司 All Rights Reserved.备案号:浙ICP备11022243号-1
浙公网安备 33032402001713号
